Skip to content
The Computer Science
TheCScience
  • Engineering Subjects
    • Human Values
    • Computer System Architecture
    • Microprocessor
    • Digital Communication
    • Internet of Things
  • NCERT Solutions
    • Class 12
    • Class 11
  • Solutions
    • HackerRank
      • C Solutions
      • C++ Solutions
      • Java Solutions
      • Python Solutions
      • Algorithms Solutions
      • Data Structures Solutions
    • HackerEarth Solutions
    • Leetcode Solutions
  • JEE 2027
The Computer Science
TheCScience

8085 Microprocessor Architecture

YASH PAL, April 3, 2022April 24, 2026

8080 Microprocessor Architecture – The 8085 Microprocessor is an 8-bit general-purpose microprocessor. It is suitable for a wide range of applications. It is called an 8-bit microprocessor because it has an 8-bit internal data bus and can read, write, and process 8-bit data at a time.

Table of Contents

  • 8085 Microprocessor Architecture Block Diagram
    • Register Block
    • Arithmetic and Logic Unit (ALU) Block
    • Control Unit Block
    • Interrupt Block
    • Serial I/O Control Block

8085 Microprocessor Architecture Block Diagram

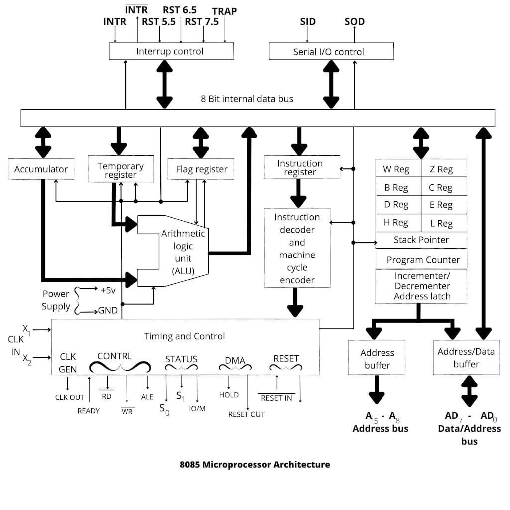
The internal architecture of the 8085 microprocessor is shown in Figure 1. This includes the following blocks:

  1. Register block
  2. Arithmetic and Logic Unit (ALU) block
  3. Control Unit Block
  4. Interrupt Block
  5. Serial I/O Control Block
8085 microprocessor architecture block diagram
Figure 1: 8085 Microprocessor Architecture Block Diagram

Register Block

The Register Block of 8085 Microprocessor has six general-purpose registers (B, C, D, E, H, and L) and two-pointer registers (SP and PC). The general-purpose registers are available to programmers through instructions. B, C, D, E, H, and L registers are 8-bit wide registers. These registers can be combined in a specific order to form a 16-bit register. Specific ordered combined registers are also known as register pairs. BC, DE, and HL are three 16-bit register pairs.

These general-purpose registers are used to store intermediate data and results. Since reading and storing in these registers do not require bus access, they are efficient for fast data processing and are also known as scratchpad registers. The contents of the register pair need not always have data. It may also have the address of the memory.

Usually, the HL register pair content is considered to have the address of memory. It is implied that the assembly instruction refers to this address by mentioning M. Hence, the HL register pair is also used as a memory pointer. In each register pair, the first register contains the higher-order byte and the second contains the lower-order byte.

W and Z registers are temporary registers that are not accessible to the user. W and Z temporary registers are 8 bits wide. The microprocessor uses these registers for storing the data or temporarily addressing it whenever required. Two-pointer registers are also available in the register block. These are the Program Counter (PC) and Stack Pointer (SP). The Program Counter (PC) is a 16-bit register that is used to point to the address of the next instruction to be executed.

It keeps track of the memory addresses of the instructions in a program while they are being executed. The microprocessor increments the content of the program counter during the execution of an instruction so that it points to the address of the next instruction in the program at the end of the execution of an instruction. A stack Pointer (SP) is a 16-bit register that always points to the top of the stack. A stack is a part of memory that is used to store data temporarily. A stack operates on the last-in-first-out (LIFO) concept. Only the top of the stack can be accessed because the stack pointer (SP) points to the top of the stack.

Note: In the register block, there is a special register that is not accessible to the user. This is a 16-bit register used by the microprocessor to increment/decrement the contents of the stack pointer (SP) and increment the contents of the program counter (PC) during instruction execution.

Arithmetic and Logic Unit (ALU) Block

The arithmetic and logic unit (ALU) block contains the following units:

  1. Accumulator (A)
  2. Temporary Register (TR)
  3. Flag Register (FR)
  4. Arithmetic and Logic Unit (ALU)

Accumulator (A) – The accumulator is an eight-bit tri-state register. The accumulator is loaded from the internal data bus and can transfer data to the internal data bus. Thus, it serves as both a destination and a source register. One of the operands and results of the arithmetic and logic operations is stored in the accumulator.

The data in the accumulator can be rotated or shifted. No other register can be used to perform this operation. It is referred to as register A in the program. The bits of any register are referenced as D7-D0, as shown in the figure below.

D7D6D5D4D3D2D1D0
Bits of any register

Temporary Register (TR) – A temporary register is an 8-bit-wide register. It is mostly used to store temporary data in arithmetic and logic instructions. It is not accessible to the user.

Flag Register (FR) – A flag register is a group of eight individual flip-flops, out of which five flip-flops are used to store significant information about the result of the arithmetic and logic operations. The other flip-flops have undefined values. The bits of the flag register and their condition codes are shown in the figure below.

D7D6D5D4D3D2D1D0
SZXACXPXCY
Bits of any register

X = Don’t care

  • Carry Flag (CY) – If an arithmetic operation results in carrying, the carry flag is set (1); otherwise, it is reset (0). The carry flag also serves as a borrow flag for subtraction. The carry flag serves the dual purpose of showing carry and borrow in case of addition and subtraction. Respectively, it is represented by the D0 bit of the flag register.
  • Parity Flag (P) – This flag bit (D2) shows whether the result of the arithmetic operation is an even number of ones or odd. Since the 8085 microprocessor follows an even parity system, if the number of ones in the accumulator after the arithmetic operation is even, this flag is set (1); otherwise, it is cleared (0).
  • Auxiliary Carry Flag (AC) – In an arithmetic operation, when a carry is generated by the lower nibble and passed to the upper nibble, the auxiliary carry flag (AC) is set. This flag is used internally for BCD (Binary Coded Decimal) operations.  The AC flag can not be used by the programmer. The D4 bit of the flip-flop represents the auxiliary carry flag.
  • Zero Flag (Z) – The zero flag shows that the result of any arithmetic or logic operation is zero or non-zero. The zero flags are set(1) when the result is zero; otherwise, it is reset(0). The zero flags are represented by the D6 bit of the flag register.
  • Sign Flag (S) – The sign flag is a replica of the D7 bit of the result. The sign flag is set (1) if bit D7 of the reset is 1; otherwise, it is reset to 0. The sign flag is represented by the D7 bit of the flag register.

NOTE: Flags are modified only after the execution of an arithmetic or logic operation.

Arithmetic and Logic Unit (ALU) – The arithmetic and logic unit operates on one or two operands. The accumulator holds one operand. This unit is primarily responsible for performing bitwise arithmetic (addition and subtraction) and logic (NOT, OR, AND, Ex-OR, Rotate, clear, and set) operations with an eight-bit capacity. The result of an arithmetic or logic operation is placed in the accumulator after the operation, replacing one of the original operands.

Control Unit Block

The control unit block plays an important role in controlling and synchronizing all data transfers and transformations in the microprocessor system. The control unit block consists of

  1. Instruction Register (IR)
  2. Instruction Decoder and Machine Cycle Encoder
  3. Timing and control unit

Instruction Register (IR) – The instruction register is an eight-bit register. The instruction operation code (opcode) is originally stored in memory. This opcode is temporarily stored in the instruction register and then transferred to the instruction decoder and machine cycle encoder. This register is not accessible to the user.

Instruction Decoder and Machine Cycle Encoder – The microprocessor first fetches the opcode (operation code for instruction) from memory and stores it in the instruction register. This opcode is then sent to the instruction decoder and machine cycle encoder, which decodes the meaning of that opcode and accordingly gives the timing and control signals to the register, ALU, data bus buffer, and sometimes also to external peripheral signals.

Timing and Control Unit – The basic operation of the microprocessor is regulated by the control unit. The control unit uses input from the master clock to generate timing and control signals. These signals are used to regulate the transfer and transformations of data with each instruction. A clock cycle is a period between two negative-going or two positive-going transitions of that clock. A state of one clock period is called a T-state.

Interrupt Block

The interrupt is a process that is initiated by an external device and is asynchronous. It can be initiated at any time without reference to the system clock. The response to an interrupt request is controlled by the interrupt block. The 8085 microprocessor has five interrupts: TRAP, RST 7.5, RST 6.5, RST 5.5, and INTR. Interrupts can be categorized into maskable and non-maskable interrupts.

TRAP is a non-maskable interrupt that can not be ignored, meaning that if the microprocessor receives a TRAP interrupt request from the external device, the microprocessor has to respond to it. The remaining four interrupts are maskable and can be ignored.

Serial I/O Control Block

The 8085 microprocessor is the only 8-bit microprocessor that has separate pins for serial input and output operations. They are SID (Serial Input Data) and SOD (Serial Output Data) pins. For long-distance transmission, serial communication is preferable.

Thus, the 8085 microprocessor architecture is designed using Register blocks, an arithmetic and Logic Unit (ALU), a control unit block, an interrupt block, and a serial I/O Control Block. The 8085 is an 8-bit microprocessor. It was generally used in small-scale industrial applications to control a few operations. The limitations of the 8085 microprocessor are as follows:

  1. Low speed of execution.
  2. Low memory addressing capability.
  3. Limited number of general-purpose registers.
  4. Less powerful instruction set.

To overcome these limitations, a 16-bit microprocessor 8086, was introduced by Intel in 1978. The 8086 microprocessor has much more powerful and high-speed computational resources. The 8086 microprocessor has a much more powerful instruction set along with architectural developments. This provides programming flexibility and improvement in speed.

The 80186 microprocessor is described as a microprocessor with integrated peripherals. The 80186 has hear about same architecture as the 8086 with the addition of a few more instructions and additional on-chip circuits like a clock generator, timer, DMA controller, and interrupt controller. The microprocessor 80286 is the first advanced microprocessor with memory management and protection abilities. The 80286 works in two operating modes: real address mode and protected virtual address mode. In real mode, the 80286 just acts as a fast 8086. The 16-bit word length of the 80286 put limitations on its operating speed.

The 80386 is a 32-bit microprocessor that supports 8-bit/16-bit/32-bit data operands. Further, the 80486 was launched by Intel. This combines all the features of the 80386 along with the numerical processing capabilities of the 80387. The 80486 is a 32-bit CMOS microprocessor. In response to increasing demand for processing, Intel came out with the first Pentium processors in 1993. After the introduction of the first Pentium, Intel developed a complete series of Pentium processors, like Pentium Pro, Pentium MMX, P-II, P-III, and P-IV.


Microprocessor Subject Tutorials & Notes | Beginners Guide
engineering subjects Microprocessor microprocessor

Post navigation

Previous post
Next post

Leave a Reply

Your email address will not be published. Required fields are marked *

Introduction to Microprocessor
Generations of Computer
Microprocessor Types
Types of Computer Systems
Types of Programming Languages
Basic Computer Structure
Interfacing Logic Devices
Number System in Computer
Number System Arithmetic – Addition & Subtraction

Microprocessor as CPU
8085 Microprocessor Architecture
Pin Configuration of 8085 Microprocessor
Demultiplexing of Address and Data Bus in 8085 Microprocessor
Basic Operations of the 8085 Microprocessor
Memory Organization in 8085 Microprocessor

Microprocessor memory structure
Memory Interfacing with 8085 Microprocessor
Memory address decoding in a microprocessor
Input/Output Interfacing in Microprocessor

8085 Microprocessor Programming Model
8085 Assembly Language Programming
8085 Microprocessor Instructions
Microprocessor Programming Steps
Flowchart Design of a Program
8085 Microprocessor Data Transfer Instructions
8085 Microprocessor Arithmetic Instructions
8085 Microprocessor Logical Instructions
8085 Microprocessor Branch Instructions
8085 Microprocessor Machine-Processor Control Instructions
Basic Structure of an Assembly Language Program
Programming Techniques for Repeated Tasks
Debugging of a Microprocessor Program

8085 Microprocessor Timing Operations
Timing Diagram of 8085 Microprocessor
Time Delay in Microprocessor
Stack in 8085 Microprocessor
Subroutine in 8085 Microprocessor
MACRO in Microprocessor

Interrupts in 8085 Microprocessor
Digital to Analog Converter (DAC) in Microprocessor
Analog to Digital Converter (ADC) in Microprocessor

Programmable Peripheral Interface
8255 (PPI) Programmable Peripheral Interface
Programmable Interval Timer (PIT) 8253/8254
Programmable Interrupt Controller (PIC) 8259
Direct Memory Access (DMA) Controller 8257

8086 Microprocessor Architecture, Instructions, and Pin Diagram
Addressing Modes of the 8086 Microprocessor
Instruction Set of 8086 Microprocessor
8088 Microprocessor Architecture with Pin Diagram
Difference between 8085, 8086, and 8088 Microprocessors
80186 Microprocessor Architecture
80286 Microprocessor Architecture & Features
80386 Microprocessor Architecture & Features
80486 Microprocessor Architecture & Features
80586 (Pentium) Microprocessor Architecture & Features

8051 Microcontroller Architecture
8051 Microcontroller Memory Organization
8051 Microcontroller Pin Configuration & Programming Model
8051 Microcontroller Timers and Counters
Serial Communication in 8051 Microcontroller
Interrupts of the 8051 Microcontroller
Addressing Modes of the 8051 Microcontroller
Intel MMX Architecture
Dual Core Processor

LED & Multiplexed Display Interfacing with Microprocessor
Liquid Crystal Display (LCD) Pin Configuration & Interfacing
Matrix Keyboard Interfacing with Microprocessor
8279 Keyboard/Display Controller
Programmable Communication Interface (USART) 8251
Serial Communication Standards in Microprocessor
Computer System Standard Buses

TheCScience

At TheCScience.com, our mission is to make quality education accessible to everyone. We provide in-depth, easy-to-understand articles covering Secondary, Senior Secondary, and Graduation-level subjects.

Our content is designed to simplify complex concepts through clear explanations, diagrams, and structured learning—helping students build strong fundamentals and succeed academically without financial barriers.

Pages

About US

Contact US

Privacy Policy

DMCA

Our Tools

Hosting - get 20% off

Engineering Subjects

Internet of Things

Human Values

Digital Communication

Computer System Architecture

Microprocessor

Programming Tutorials

Data Structure and Algorithm

C

Java

NCERT

Class 12th

©2026 TheCScience | WordPress Theme by SuperbThemes