Skip to content
The Computer Science
TheCScience
  • Engineering Subjects
    • Human Values
    • Computer System Architecture
    • Microprocessor
    • Digital Communication
    • Internet of Things
  • NCERT Solutions
    • Class 12
    • Class 11
  • Solutions
    • HackerRank
      • C Solutions
      • C++ Solutions
      • Java Solutions
      • Python Solutions
      • Algorithms Solutions
      • Data Structures Solutions
    • HackerEarth Solutions
    • Leetcode Solutions
  • JEE 2027
The Computer Science
TheCScience

The 80186 Microprocessor Architecture

YASH PAL, April 10, 2026April 30, 2026

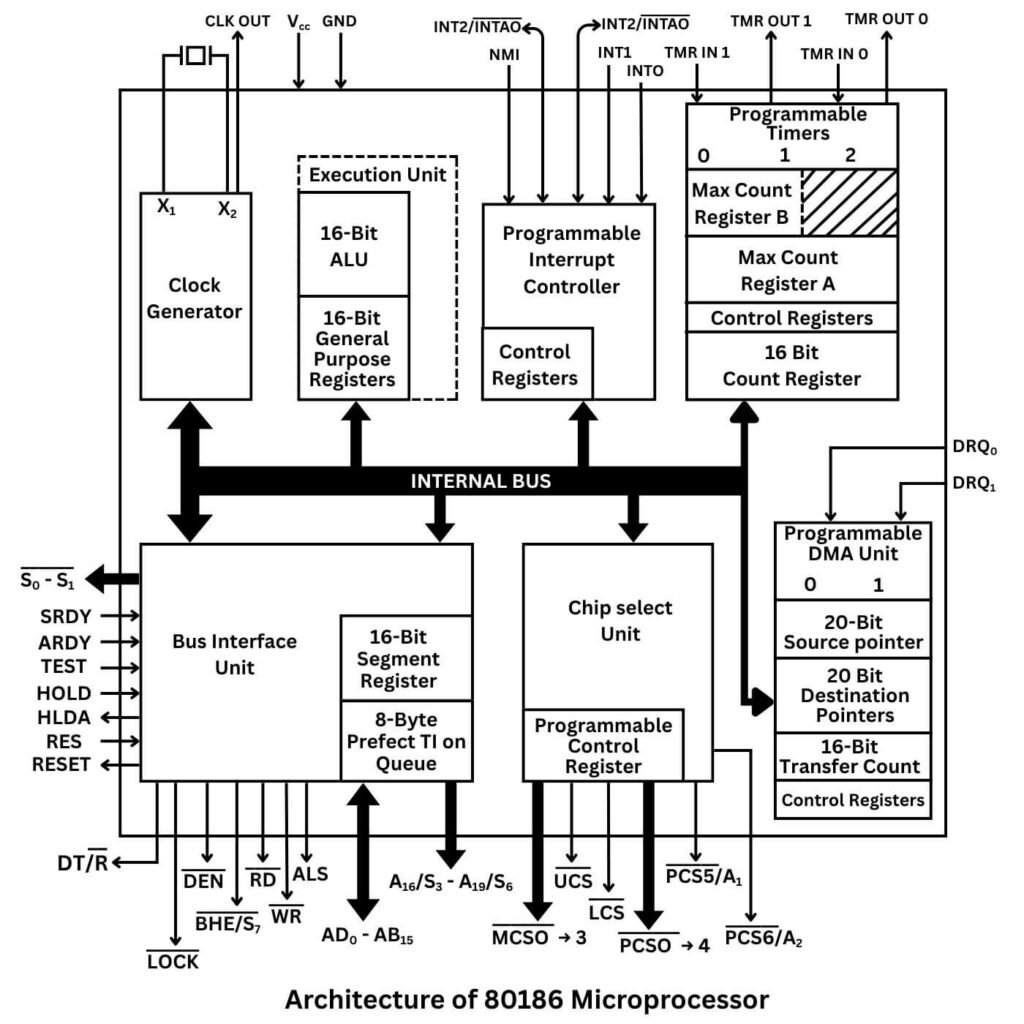
80186 Microprocessor Architecture – The 80186 microprocessor is a 16-bit microprocessor. It operates at a block frequency of 8MHz and with a +5V DC power supply. It’s a 68-pin IC that has a basic architecture similar to the 8086 microprocessor. The 80186 microprocessor was designed with the addition of a few more instructions and additional on-chip circuits. 80186 was thus described as a microprocessor with integrated peripherals. It is not a popular processor and is not widely used.

Architecture of 80186 Microprocessor

The basic architecture of the 80186 microprocessor is similar to that of the 8086 microprocessor. Like the 8086 microprocessor, this also contains a bus interface unit (BIU) and an execution unit (EU). In addition to these, the 80186 microprocessor contains the following.

  1. Clock generator
  2. Programmable timers
  3. DMA controller
  4. Interrupt controller

Because of the above-mentioned hardware enhancement in BIU and EU, the 80186 microprocessor runs faster with the same instructions. The architecture of 80186 is shown in Figure 1.

Architecture of 80186 Microprocessor
Figure 1: Architecture of 80186 Microprocessor Diagram

Microprocessor Subject Tutorials & Notes | Beginners Guide
engineering subjects Microprocessor microprocessor

Post navigation

Previous post
Next post

Introduction to Microprocessor
Generations of Computer
Microprocessor Types
Types of Computer Systems
Types of Programming Languages
Basic Computer Structure
Interfacing Logic Devices
Number System in Computer
Number System Arithmetic – Addition & Subtraction

Microprocessor as CPU
8085 Microprocessor Architecture
Pin Configuration of 8085 Microprocessor
Demultiplexing of Address and Data Bus in 8085 Microprocessor
Basic Operations of the 8085 Microprocessor
Memory Organization in 8085 Microprocessor

Microprocessor memory structure
Memory Interfacing with 8085 Microprocessor
Memory address decoding in a microprocessor
Input/Output Interfacing in Microprocessor

8085 Microprocessor Programming Model
8085 Assembly Language Programming
8085 Microprocessor Instructions
Microprocessor Programming Steps
Flowchart Design of a Program
8085 Microprocessor Data Transfer Instructions
8085 Microprocessor Arithmetic Instructions
8085 Microprocessor Logical Instructions
8085 Microprocessor Branch Instructions
8085 Microprocessor Machine-Processor Control Instructions
Basic Structure of an Assembly Language Program
Programming Techniques for Repeated Tasks
Debugging of a Microprocessor Program

8085 Microprocessor Timing Operations
Timing Diagram of 8085 Microprocessor
Time Delay in Microprocessor
Stack in 8085 Microprocessor
Subroutine in 8085 Microprocessor
MACRO in Microprocessor

Interrupts in 8085 Microprocessor
Digital to Analog Converter (DAC) in Microprocessor
Analog to Digital Converter (ADC) in Microprocessor

Programmable Peripheral Interface
8255 (PPI) Programmable Peripheral Interface
Programmable Interval Timer (PIT) 8253/8254
Programmable Interrupt Controller (PIC) 8259
Direct Memory Access (DMA) Controller 8257

8086 Microprocessor Architecture, Instructions, and Pin Diagram
Addressing Modes of the 8086 Microprocessor
Instruction Set of 8086 Microprocessor
8088 Microprocessor Architecture with Pin Diagram
Difference between 8085, 8086, and 8088 Microprocessors
80186 Microprocessor Architecture
80286 Microprocessor Architecture & Features
80386 Microprocessor Architecture & Features
80486 Microprocessor Architecture & Features
80586 (Pentium) Microprocessor Architecture & Features

8051 Microcontroller Architecture
8051 Microcontroller Memory Organization
8051 Microcontroller Pin Configuration & Programming Model
8051 Microcontroller Timers and Counters
Serial Communication in 8051 Microcontroller
Interrupts of the 8051 Microcontroller
Addressing Modes of the 8051 Microcontroller
Intel MMX Architecture
Dual Core Processor

LED & Multiplexed Display Interfacing with Microprocessor
Liquid Crystal Display (LCD) Pin Configuration & Interfacing
Matrix Keyboard Interfacing with Microprocessor
8279 Keyboard/Display Controller
Programmable Communication Interface (USART) 8251
Serial Communication Standards in Microprocessor
Computer System Standard Buses

TheCScience

At TheCScience.com, our mission is to make quality education accessible to everyone. We provide in-depth, easy-to-understand articles covering Secondary, Senior Secondary, and Graduation-level subjects.

Our content is designed to simplify complex concepts through clear explanations, diagrams, and structured learning—helping students build strong fundamentals and succeed academically without financial barriers.

Pages

About US

Contact US

Privacy Policy

DMCA

Our Tools

Hosting - get 20% off

Engineering Subjects

Internet of Things

Human Values

Digital Communication

Computer System Architecture

Microprocessor

Programming Tutorials

Data Structure and Algorithm

C

Java

NCERT

Class 12th

©2026 TheCScience | WordPress Theme by SuperbThemes