Skip to content
The Computer Science
TheCScience
  • Engineering Subjects
    • Human Values
    • Computer System Architecture
    • Microprocessor
    • Digital Communication
    • Internet of Things
  • NCERT Solutions
    • Class 12
    • Class 11
  • Solutions
    • HackerRank
      • C Solutions
      • C++ Solutions
      • Java Solutions
      • Python Solutions
      • Algorithms Solutions
      • Data Structures Solutions
    • HackerEarth Solutions
    • Leetcode Solutions
  • JEE 2027
The Computer Science
TheCScience

8255 (PPI) Programmable Peripheral Interface

YASH PAL, April 1, 2026April 27, 2026

8255 Programmable Peripheral Interface – The 8255 (PPI) is a programmable, parallel input/output device. It can be programmed to transfer data under different conditions, from simple input/output. It is flexible, versatile, and economical (when multiple input/output ports are required), but somewhat complex. It is widely used with almost any microprocessor.

Table of Contents

  • 8255 (PPI) Programmable Peripheral Interface
    • Block and Pin Diagram of the 8255 Interface
      • Parallel Ports
      • Control Logic
      • Address Logic
      • Control Register
    • Interfacing Steps of Microprocessor with 8255
    • Modes of 8255
      • BSR (Bit Set/Reset) Mode
    • Input/Output Mode in 8255
      • Mode 0 – Simple input/output mode
      • Mode 1 – Input/output mode with handshake
        • Mode 1: Input Control Signals
        • Mode 1: Output Control Signals
      • Mode 2: Bidirectional Data Transfer
    • Programming the 8255 in Mode 1
      • Status check Input/Output
      • Interrupt Input/Output

8255 (PPI) Programmable Peripheral Interface

The 8255 Programmable Peripheral Interface has 40 pins; out of these, 24 input/output pins can be grouped in 8-bit parallel ports: Port A and Port B, with the remaining eight bits as Port C. Port C can be used as an individual or be grouped in two 4-bit ports, namely, port CUPPOER (CU) and port CLOWER (CL) as shown in Figure 1. The function of these ports is defined by writing a control word in the control register.

8255 PPI input output ports
Figure 1: 8255 input/output ports diagram

Block and Pin Diagram of the 8255 Interface

The block diagram is shown in Figure 2 and the pin diagram in Figure 3, with various elements and their functions as follows:

Block diagram of 8255
Figure 2: Block diagram of 8255 (PPI) Programmable Peripheral Interface
pin configuration of 8255
Figure 3: pin configuration of 8255 (PPI) Programmable Peripheral Interface
Pin NamePin Function
D7 – D0Data Bus (Bidirectional)
RESETReset Input
CSChip Select
RDRead Input
WRWrite Input
A0, A1Port Address
PA7 – PA0Port A (Bit)
PC7 – PC0
Port B (Bit)
Vcc+5 Volts
GND0 Volts
Pin names and their functions of 8255 (PPI) Table

Parallel Ports

  1. Port A: Contains 8 pins (PA0 – PA7) for receiving/sending data, it is used as an 8-bit parallel port.
  2. Port B: Also used as an 8-bit parallel port. It contains 8 pins (PB0 – PB7) for receiving/sending data.
  3. Port C: Used as an 8-bit parallel port. It can be divided into two 4-bit ports: CUPPER (CU) and CLOWER (CL). It contains 8 pins (PC0 – PC7) for receiving/sending data. Port C pins can also be used for handshake signals.

Control Logic

The control section has six lines. Their functions are as follows:

  1. RD (Read): This control signal enables the read operation. This is an active low signal. When it goes low, the microprocessor reads data from a selected input/output port of the 8255.
  2. WR (Write): This control signal enables the write operation. This is also an active low signal. When it goes low, the microprocessor writes into a selected input/output port or the control register.
  3. RESET (Reset): It clears the control register and sets all ports in the input mode. It is an active high signal.

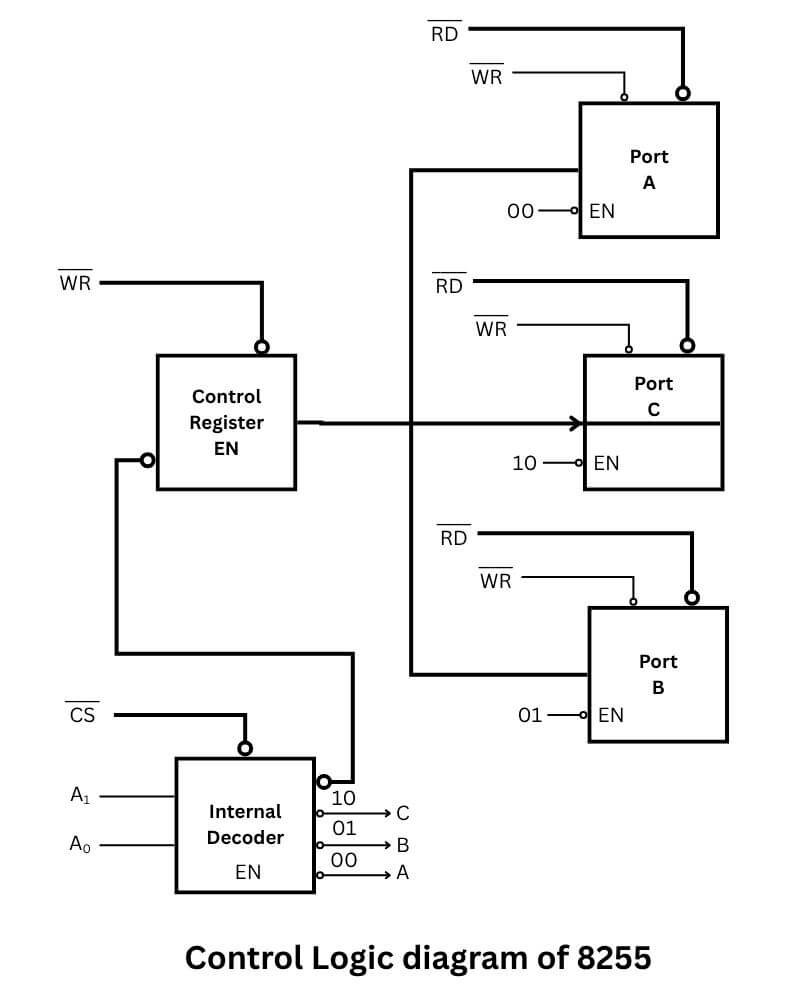
Address Logic

  1. A0, A1: These pins are generally connected to microprocessor address lines – A0 and A1. The combination of these two is used to identify the address of various ports and the control register. For this purpose, an internal decoder is used.
Control logic diagram of 8255
Figure 4: Control logic diagram of 8255
  1. CS (Chip Select): It is the master chip select signal. It is an active low signal. When it goes low, the chip will be selected. Address lines other than A0 and A1 may be used in any combination to make the chip select logic. Addresses of ports and control registers can be determined by a combination of CS, A1, and A0 lines. This is shown in the table below and in Figure 4.
CSA1A0Port Selected
000Port A
001Port B
010Port C
011Control Register
1XX8255 not selected
Table for Address decoding of 8255

Control Register

The register, which is internal to the 8255 chip, is called the control register. The contents of this register are known as the control word. The control word specifies the input/output function and modes of various ports of the 8255. The control register can be accessed to write a control word when both A0 and A1 are high, as shown in the table for Address decoding of 8255.

Interfacing Steps of Microprocessor with 8255

To communicate with peripherals through the 8255, three steps are necessary.

  1. Determine the address of ports A, B, and C and of the control register by the use of the chip select logic and address lines A0 and A1.
  2. Determine the control word and write it into the control register.
  3. Write input/output instructions to communicate with the peripheral through ports A, B, and C.

Note: The control register can’t be used for the reading operation.

Modes of 8255

All the functions of 8255 are classified according to two modes.

  1. BSR (bit set/reset) Mode
  2. Input/Output Mode

The modes of 8255 are shown in Figure 5.

modes of 8255
Figure 5: modes of 8255 (PPI) Programmable Peripheral Interface

BSR (Bit Set/Reset) Mode

The BSR mode includes only eight bits of port C, which can be set or reset by writing the suitable control word in the control register. In BSR mode, the D7 bit of the control word is at logic 0, and it does not affect the previously transmitted control word with bit D7 = 1; this indicates that input/output operations of ports A and B are not altered by a BSR control word.

BSR Control Word: BSR control word sets or resets one bit at a time of port C. When written in the control register. The control word format for this mode is shown in Figure 6.

BSR control word format in 8255
Figure 6: BSR control word format diagram

Input/Output Mode in 8255

Input/output mode is used to transfer the data to or from the peripherals. The D7 bit of the control word must be set (1) for this mode. Three different types of input/output modes are available in the 8255.

  1. Mode 0 – Simple input/output mode
  2. Mode 1 – Input/output with handshake signals
  3. Mode 2 – Bidirectional mode

Control word format – The control word format is shown in Figure 7.

8255 control word format for input/output mode
Figure 7: 8255 control word format for input/output mode

Mode 0 – Simple input/output mode

In this mode, Ports A and B are used as two simple 8-bit Input/Output ports and Port C as two 4-bit ports. Each port (or half-port in the case of port C) can be programmed to function as simply an input port or an output port.

Mode 1 – Input/output mode with handshake

In this mode, input or output data transfer is controlled by handshake signals. Handshake signals are used to transfer data between devices whose data transfer speeds are not the same. The handshaking signals are used to inform the microprocessor whether the peripheral is ready to communicate or not. In mode 1, handshake signals are exchanged between the microprocessor and peripherals prior to the data transfer. The features of this mode include the following:

  1. Port A and Port B function as 8-bit input/output ports.
  2. Each port uses three lines from port C as handshake signals. The remaining two lines of port C can be used for simple input/output functions.

In the 8255, the specific lines from port C are used for handshake signals. These lines are very similar to the input/output function of a port. Therefore, input and output functions in mode 1 are discussed separately.

Mode 1: Input Control Signals

When both port A and port B are configured as input ports, and port C is used for handshake signals. Port A uses the upper three lines of port C, PC3, PC4, and PC5, whereas port B uses the lower three lines: PC0, PC1, and PC2. The functions of these signals are as follows:

  1. STB (Strobe input): This is an active low input signal generated by a peripheral device to indicate that it has transmitted a byte of data. In response to STB, the 8255 generates IBF and INTR signals as shown in the figure below.
  2. IBF (Input Buffer Full): This is an active high output signal. This signal is an acknowledgement by the 8255 to indicate that the input latch has received the data byte. This is reset when the microprocessor has read the data.
  3. INTR (Interrupt Request): This is an active high output signal that may be used to interrupt the microprocessor. This signal is generated if STB, IBF, and INTE (Internal Flip-flop) are all at logic 1. This is reset by the falling edge of the RD signal.
  4. INTE (Interrupt Enable): This is an internal flip-flop used to enable or disable the generation of the INTR signal.
8255 mod 1 input configuration
Figure 8: 8255 mod 1 input configuration diagram

The two flip-flops INTEA and INTEB are set/reset using the BSR mode. The INTEA is enabled or disabled through PC4, and INTEB is enabled or disabled through PC2. The timing waveform for the strobed input (with handshake) is shown in Figure 9.

8255 Mode 1 - Timing Waveforms for strobed input (with Handshake)
Figure 9: 8255 Mode 1 – Timing Waveforms for strobed input (with Handshake) Diagram

Control Word – To configure port A and port B as input ports in mode 1, the control word, according to the format shown in Figure 9 “8255 Control Word format for input/output mode“, will be as follows:

D7D6D5D4D3D2D1D0
10111/011X
I/O modePort A = Mode 1Port A = Mode 1Port A = Input PortPC6, PC7
1 = Input
0 = Output
Port B = Mode 1Port B = Input PortDon’t Care
8255 Control word format for input/output mode table

Status Word – When we read port C in mode 1, the bit pattern loaded into the Accumulator is called the status word. The status word for mode 1, when both port A and port B are configured as input ports, is as follows:

D7D6D5D4D3D2D1D0
I/OI/OIBFAINTEAINTRAINTEBIBFAINTRB
Status word of 8255
Mode 1: Output Control Signals

When both port A and port B are configured as output ports, port C is used for handshake signals. The functions of various output control signals are as follows:

  1. OBF (Output Buffer Full): This is an output signal that goes low when the microprocessor writes data into the output latch of 8255. This signal indicates to an output peripheral that new data are ready to be read; it goes high again after the 8255 receives an ACK signal from the peripheral.
  2. ACK (Acknowledge): This is an active low input signal. It is generated by the peripheral after receiving data from the output latch of 8255. When it goes low, OBF goes high again, indicating that the output buffer is empty.
  3. INTR (Interrupt Request): This is an active high output signal, which may be used to interrupt the microprocessor by connecting it to any of the interrupt pins. The INTR is set when OBF, ACK, and INTE are all at logic 1. This is reset by the falling edge of the WR.
  4. INTE (Interrupt Enable): This is an internal flip-flop, which is used to enable or disable the generation of the INTR signal. The two flip-flops INTEA and INTEB are controlled by bits PC6 and PC2, respectively, through the BSR mode.
8255 mode 1 output configuration
Figure 10: 8255 mode 1 output configuration diagram

Control Word – To configure port A and port B as output ports in mode 1, the control word, according to the format shown in the above figure “8255 Control Word format for input/output mode” will be as follows:

D7D6D5D4D3D2D1D0
10101/010X
I/O modePort A = Mode 1Port A = Mode 1Port A = Output PortPC4, PC5
1 = Input
0 = Output
Port B = Mode 1Port B = Output PortDon’t Care

Status Word – When we read port C in mode 1, the bit pattern loaded into the accumulator is called the status word. The status word for mode 1, when both port A and port B are configured as output ports, is as follows:

D7D6D5D4D3D2D1D0
OBFAINTEAI/OI/OINTRAINTEBOBFBINTRB

The timing waveform for the strobed output (with handshake) is shown in Figure 11.

8255 mode 1 timing waveform for strobed output with handshake
Figure 11: 8255 mode 1 timing waveform for strobed output with handshake diagram

Mode 2: Bidirectional Data Transfer

This mode allows bidirectional data transfer (transmission and reception) over a single 8-bit data bus only in group A, with port A as the 8-bit bidirectional data bus; and lines PC3 – PC7 are used for handshaking purposes. Port B can be configured in mode 0 or in mode 1. If port B is configured in mode 0, the three pins (PC0, PC1, and PC2) may be used for input/output purposes as shown in Figure 12.

8255 mode 2 with port B in mode 0
Figure 12: 8255 mode 2 with port B in mode 0 diagram

Whereas if port B is configured in mode 1, then these three pins (PC0, PC1, and PC2) will also be utilized by handshake signals for port B, as shown in Figure 13.

8255 mode 2 with port B in mode 1
Figure 13: 8255 mode 2 with port B in mode 1 diagram

Programming the 8255 in Mode 1

The 8255 can be programmed using the following two techniques:

  1. Status check Input/Output
  2. Interrupt Input/Output

Status check Input/Output

In this technique, the microprocessor reads the status word from port C, checks for a particular status bit in a loop until it gets the proper status to synchronise with the slow peripheral. This is the use of handshake signals, where, before transmitting data, the status of the slower peripheral is checked. Whether it is ready or not, otherwise the data may be lost. The status check process can be explained using the following flow chart, given in Figure 14.

Status check input output in 8255
Figure 14: Status check input output diagram

Interrupt Input/Output

Interrupt Input/Output assumes that vectored interrupts are available. The INTE flip-flop is set, which will generate the INTR signal. The INTR signal is connected to any of the interrupt pins (TRAP, RST 7.5, RST 6.5, RST 5.5, or INTR) of the microprocessor. A flow chart for this type of programming can be given as shown in Figure 15.

Interrupt input output
Figure 15: Interrupt input output diagram

Microprocessor Subject Tutorials & Notes | Beginners Guide
engineering subjects Microprocessor microprocessor

Post navigation

Previous post
Next post

Introduction to Microprocessor
Generations of Computer
Microprocessor Types
Types of Computer Systems
Types of Programming Languages
Basic Computer Structure
Interfacing Logic Devices
Number System in Computer
Number System Arithmetic – Addition & Subtraction

Microprocessor as CPU
8085 Microprocessor Architecture
Pin Configuration of 8085 Microprocessor
Demultiplexing of Address and Data Bus in 8085 Microprocessor
Basic Operations of the 8085 Microprocessor
Memory Organization in 8085 Microprocessor

Microprocessor memory structure
Memory Interfacing with 8085 Microprocessor
Memory address decoding in a microprocessor
Input/Output Interfacing in Microprocessor

8085 Microprocessor Programming Model
8085 Assembly Language Programming
8085 Microprocessor Instructions
Microprocessor Programming Steps
Flowchart Design of a Program
8085 Microprocessor Data Transfer Instructions
8085 Microprocessor Arithmetic Instructions
8085 Microprocessor Logical Instructions
8085 Microprocessor Branch Instructions
8085 Microprocessor Machine-Processor Control Instructions
Basic Structure of an Assembly Language Program
Programming Techniques for Repeated Tasks
Debugging of a Microprocessor Program

8085 Microprocessor Timing Operations
Timing Diagram of 8085 Microprocessor
Time Delay in Microprocessor
Stack in 8085 Microprocessor
Subroutine in 8085 Microprocessor
MACRO in Microprocessor

Interrupts in 8085 Microprocessor
Digital to Analog Converter (DAC) in Microprocessor
Analog to Digital Converter (ADC) in Microprocessor

Programmable Peripheral Interface
8255 (PPI) Programmable Peripheral Interface
Programmable Interval Timer (PIT) 8253/8254
Programmable Interrupt Controller (PIC) 8259
Direct Memory Access (DMA) Controller 8257

8086 Microprocessor Architecture, Instructions, and Pin Diagram
Addressing Modes of the 8086 Microprocessor
Instruction Set of 8086 Microprocessor
8088 Microprocessor Architecture with Pin Diagram
Difference between 8085, 8086, and 8088 Microprocessors
80186 Microprocessor Architecture
80286 Microprocessor Architecture & Features
80386 Microprocessor Architecture & Features
80486 Microprocessor Architecture & Features
80586 (Pentium) Microprocessor Architecture & Features

8051 Microcontroller Architecture
8051 Microcontroller Memory Organization
8051 Microcontroller Pin Configuration & Programming Model
8051 Microcontroller Timers and Counters
Serial Communication in 8051 Microcontroller
Interrupts of the 8051 Microcontroller
Addressing Modes of the 8051 Microcontroller
Intel MMX Architecture
Dual Core Processor

LED & Multiplexed Display Interfacing with Microprocessor
Liquid Crystal Display (LCD) Pin Configuration & Interfacing
Matrix Keyboard Interfacing with Microprocessor
8279 Keyboard/Display Controller
Programmable Communication Interface (USART) 8251
Serial Communication Standards in Microprocessor
Computer System Standard Buses

TheCScience

At TheCScience.com, our mission is to make quality education accessible to everyone. We provide in-depth, easy-to-understand articles covering Secondary, Senior Secondary, and Graduation-level subjects.

Our content is designed to simplify complex concepts through clear explanations, diagrams, and structured learning—helping students build strong fundamentals and succeed academically without financial barriers.

Pages

About US

Contact US

Privacy Policy

DMCA

Our Tools

Hosting - get 20% off

Engineering Subjects

Internet of Things

Human Values

Digital Communication

Computer System Architecture

Microprocessor

Programming Tutorials

Data Structure and Algorithm

C

Java

NCERT

Class 12th

©2026 TheCScience | WordPress Theme by SuperbThemes