Skip to content
The Computer Science
TheCScience
  • Engineering Subjects
    • Human Values
    • Computer System Architecture
    • Microprocessor
    • Digital Communication
    • Internet of Things
  • NCERT Solutions
    • Class 12
    • Class 11
  • Solutions
    • HackerRank
      • C Solutions
      • C++ Solutions
      • Java Solutions
      • Python Solutions
      • Algorithms Solutions
      • Data Structures Solutions
    • HackerEarth Solutions
    • Leetcode Solutions
  • JEE 2027
The Computer Science
TheCScience

Common Bus System in Computer Architecture

YASH PAL, October 13, 2025March 25, 2026

Common Bus System in Computer Architecture – The basic computer system has various registers, a memory unit, and a control unit. The information is transferred from one unit to another to complete the required operation. Therefore, a path must be provided between these units.

If separate lines are used to provide the path, the number of wires will be excessive in the system. A more efficient method for transferring information between different units of a computer system is a common bus system. A common bus can be constructed using a tri-state buffer or a multiplexer.

Table of Contents

  • Architecture of the Common Bus System
    • Working Principle of Common Bus System

Architecture of the Common Bus System

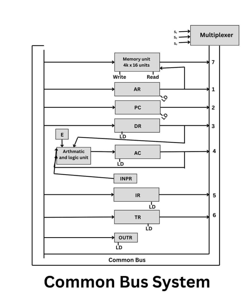
A common bus system is used to transfer the information between different units of the computer system. The figure below shows the connections of registers and a memory unit of a computer system to a Common bus.

Common Bus System
Common Bus System

Note: This figure only shows the basic common bus system architecture. As clocks and other control signals are not shown in the above figure.

Working Principle of Common Bus System

The outputs of registers and memory units are connected to the common bus. In the same manner, the common bus is also connected to the inputs of each register and the data inputs of the memory.

Whenever a register wants to receive data from a common bus, one of the control signal load (LD) must be enabled. The particular register which is having load (LD) control signal enabled receives the data from the common bus during the next clock pulse. If two or more registers have the LD control signal enabled simultaneously, they may receive the same data from the common bus. The memory receives the contents of the common bus only when its write input is enabled.

The multiplexer is used to select a specific output for the common bus at any given time. There are three selection lines for the multiplexer. The binary values in these lines activate the specific output from the registers. The number along each output shows the decimal equivalent of the required binary selection. For example, the accumulator (AC) can place the output on the common bus if the selection lines contain 1002 (410)

As shown in the above figure, the input data and output data of the memory unit are connected to the common bus, and the memory can perform a reading or writing operation when the proper control signal (read or write).

However, the memory address is connected to AR only; this register must be used to specify the address of a register in the memory unit where the reading or writing operation is to be performed. This kind of bus architecture eliminates the requirement of a separate address bus. The memory unit can receive the data from any of the registers, and similarly, all the registers except the accumulator (AC) can receive the data from the memory unit directly.

In a common bus system, there is an arithmetic and logic unit. It has three inputs. One set of 16-bit input lines came from the output lines of the accumulator. This set can be used to perform the micro operations with the accumulator only, like shift AC and complement AC. Another set of 16-bit input lines comes from the data register (DR).

This set is used to perform micro operations that have two operands, like addition. In such a case, one operand is stored in the accumulator and the other operand in the data register. A third set of 8-bit inputs comes from the input register (INPR). This set is used to communicate with the input device.

The input register (INPR) and output register (OUTR) are used to communicate with the I/O devices. The serial information from the input device is stored in the input register. It converts this serial information into parallel and transfers it to the arithmetic and logic unit.

Similarly, the serial information for the output device is stored in the output register. The output register transfers the parallel information in a serial manner to the output device. These two registers communicate with I/O devices serially and with the accumulator in parallel.


Related Questions and Answers

What are two methods to construct a common bus?

A common bus can be constructed using a tri-state buffer or using multiplexer.

What is the function of a multiplexer in a common bus system?

The multiplexer is used to select a specific output for the common at any instant of time.

Computer System Architecture engineering subjects Computer System Architectureengineering subjects

Post navigation

Previous post
Next post

Basic structure of a computer
Functional Units of a Computer
Development of Computers
Von Neumann and Harvard Machine Architecture
Flynn Classification
Computer Structure Architecture
Basic Computer Data Types
Arithmetic Complement
Real Numbers Representation
Interfacing Logic Devices
Levels of Design Abstraction
Performance Metrics

Register Transfer Language
Memory Transfer
Arithmetic Micro-operations
Arithmetic Complements
Logic Micro-operations
Shift Micro-operations
Bus Architecture
Data Transfer
Bus and Memory Transfer
Central Processing Unit
CPU Bus Architecture

Difference between Computer Architecture and Organization
Computer Register and Types
Common Bus System
Instruction Format
Instruction Types
Instruction Cycle
Fetch Decode Execute Instruction Cycle
Timing and Control of Instruction Cycle
Input-Output and Interrupt
Memory Reference Instructions
Addressing Modes
Design of a basic computer
Design of Accumulator Unit
Design of Control Unit
Difference between Hardwired Control and Microprogrammed Control

Basic Function of a Computer
Register organization
General Register Organization
Stack organization
Infix to Reverse Polish Notation Conversion
Instruction Types and their classifications
Data transfer and manipulation
Program control
RISC and CISC
Difference between RISC and CISC

Parallel Processing
Pipeline
Types of Pipeline
Arithmetic Pipeline
Instruction Pipeline
Hazards
RISC Pipeline
Vector Processing
Array Processors

Machine Language
Assembly Language
Arithmetic and Logical Operations
Subroutine
Data Representation
Addition and Subtraction
Adder Circuits
Shift and Add Multiplication Method
Booth's Algorithm
Restoring Division Algorithm
Non-Restoring Division Algorithm
Array Multiplier
Hardwired control and Microprogrammed control Difference

Memory Classification
Memory Characteristics
Memory Organization
Memory Types
Auxiliary Memory
Associative Memory
Cache Memory
Virtual Memory
Paging and Segmentation Difference
Multiprocessor
Interconnection Structures
Interprocessor Arbitration
Interprocessor Communication and Synchronization
Cache Coherence
Shared Memory Multiprocessors

Input Output Interface
Asynchronous Data Transfer
Modes of Data Transfer
Input-Output Programming
Priority Interrupt
Microprogramming
Control Memory
Address Sequencing
Micro Program Examples
Direct Memory Access
Input-Output Processor
Serial Communication

TheCScience

At TheCScience.com, our mission is to make quality education accessible to everyone. We provide in-depth, easy-to-understand articles covering Secondary, Senior Secondary, and Graduation-level subjects.

Our content is designed to simplify complex concepts through clear explanations, diagrams, and structured learning—helping students build strong fundamentals and succeed academically without financial barriers.

Pages

About US

Contact US

Privacy Policy

DMCA

Our Tools

Hosting - get 20% off

Engineering Subjects

Internet of Things

Human Values

Digital Communication

Computer System Architecture

Microprocessor

Programming Tutorials

Data Structure and Algorithm

C

Java

NCERT

Class 12th

©2026 TheCScience | WordPress Theme by SuperbThemes